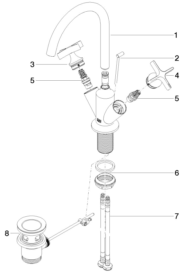
VAIA 1-gats wastafelmgkrn afvoer. Champagne (22kt Goud) Dornbracht
4616131
MFG #: 22513809-47
€2.385,10
/ 1.00
- Merk: Dornbracht
- Type: STD
- Serie: VAIA
