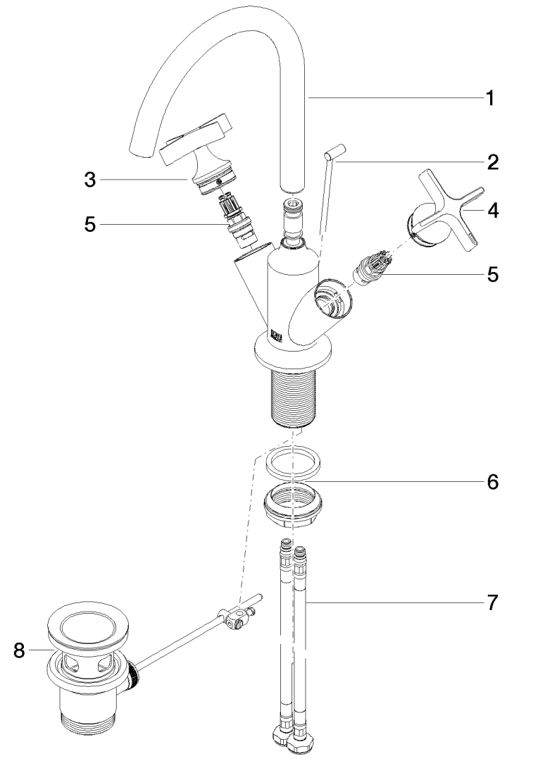
VAIA 1-gats wastafelmgkrn afvoer. Brons gebors. Dornbracht

4618537 MFG #: 22513809-42
€1.590,10 / 1.00
  • Merk: Dornbracht
  • Type: STD
  • Serie: VAIA