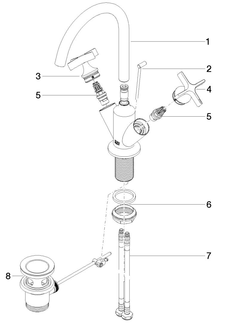
VAIA 1-gats wastafelmgkrn afvoer. Dark Chrome Dornbracht

4619303 MFG #: 22513809-19
€1.490,70 / 1.00
  • Merk: Dornbracht
  • Type: STD
  • Serie: VAIA